Global Broker Regulation Inquiry App
WikiFX
Broker Search
English

简体中文

繁體中文

English

Pусский

日本語

ภาษาไทย

Tiếng Việt

Bahasa Indonesia

Español

हिन्दी

Filippiiniläinen

Français

Deutsch

Português

Türkçe

한국어

العربية

Download

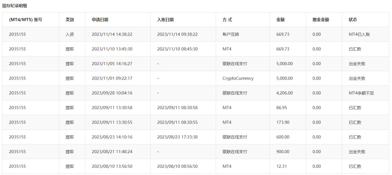
Unable to withdraw money or log in.

天天2938
3-5 years
Unverified

Exposure

The withdrawal has not been received for more than a month, and there are always various excuses for not withdrawing money, not being able to log in, and finally ignoring it and not replying to messages. It is a black platform!

Original

无法出金,无法登录。

出金一个多月都没有到账,总是各种理由推脱不给出金,不给登录,最后不理,不回信息,就是黑平台!

2023-11-27

Hong Kong

Unable to Withdraw

Most Comments of the Week

  • M4Markets

  • UITFX

  • RYOEX

  • tradeel

    4
  • FINSAI TRADE

    5
  • RADEX MARKETS

    6
  • FlipTrade Group

    7
  • Dotbig

    8
  • D prime

    9
  • Pocket Broker

    10

To view more

Please download WikiFX APP

Select Country/Region
United States
※ WikiFX compiles data from publicly available sources and user contributions. While we endeavor to maintain its accuracy, we do not warrant the information's completeness, accuracy, or timeliness, as it may become outdated. Investors are strongly advised to verify critical details with official sources before making any decisions.
You are visiting the WikiFX website. WikiFX Internet and its mobile products are an enterprise information searching tool for global users. When using WikiFX products, users should consciously abide by the relevant laws and regulations of the country and region where they are located.
consumer hotline:006531290538
Official Email:support@wikifx.com;
Mobile Phone Number:234 706 777 7762;61 449895363
Telegram:+60 103342306
Whatsapp:+852-6613 1970;
License or other information error corrections, please send the information to:qa@wikifx.com
Cooperation:business@wikifx.com